据一位可靠的三星计划泄密者称,三星今年将在其智能手机阵容中增加第三款可折叠设备,该设备将可能具有独特的可滚动显示屏外形。
现有的Galaxy Z Flip 3和Galaxy Z Fold 3已经相对成功地加入了三星的智能手机家族,据报道,该公司计划在2022年出货超过1000万部可折叠手机,并推出Flip 3和Fold 3的后续机型,以及第三个未命名的可折叠阵容。

据称,三星内部对今年预计推出的机型使用的代号包括B4、Q4和N4,其中B4和Q4被认为分别与Z Flip 4和Z Fold 4有关,而N4则指的是一款全新的设备。手机泄密者@UniverseIce是三星传闻一个备受关注的来源,他今天声称,三星的第三款可折叠设备将在今年下半年发布。然而,这位泄密者认为新设备的代号实际上是"钻石",并说它很有可能具有可滚动的屏幕外形。
可滚动/可滑动屏幕的手机在消费市场上还不存在,但在移动制造商寻找智能手机技术的下一个重大创新时,他们已经宣传了大量的概念设备。Oppo X就是一个例子。它使用机动的动力系统机制,均匀地展开或延伸屏幕,同时避免显示屏上出现明显的扭结或褶皱。

Oppo X 2021是第一款有望上市的可滚动手机,但该设备从未上市,尽管Oppo显然有计划在今年发布一个更新版本。三星也在2021年展示了一款带有可滑动OLED显示屏的概念智能手机,但它并没有与真正的消费者产品发布挂钩。
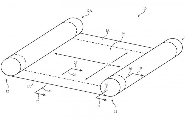
根据苹果公司的专利,该公司过去曾探索过可滚动显示屏。2020年3月,一项归属于苹果的专利出现在美国专利和商标局上,描述了一种"具有柔性显示结构的电子设备"。该专利详细介绍了一种柔性显示屏,它可以被包裹在一个或多个内部滚轮机构上,使屏幕可以从机身中扩展出来。仍然有一个刚性部分来容纳印刷电路板和其他电子元件,但增加了可滚动的显示层。
与所有的苹果专利一样,没有迹象表明苹果有计划将这样的设备推向市场。
(举报)
