苹果公司正在继续研究智能戒指。在其众多的专利申请中,苹果提交了两个特别的专利,这两个专利实际上都是关于智能戒指和其制作方法。
其中一项专利申请名为"带有手指装置的计算机系统",现在已经被批准。还有一项专利申请名为"计算机系统手指装置的部署系统",是关于这种戒指的工作方式。
苹果在这两项授权专利中的第一项中指出,普通电脑使用鼠标和其他输入配件进行控制是没有问题的。而对于AR和VR环境,事情就有点难了。在虚拟现实系统中,力反馈手套可用于控制虚拟物体,诸如此类的设备对用户来说可能不方便,可能很麻烦或不舒服,或者可能提供不充分的反馈。
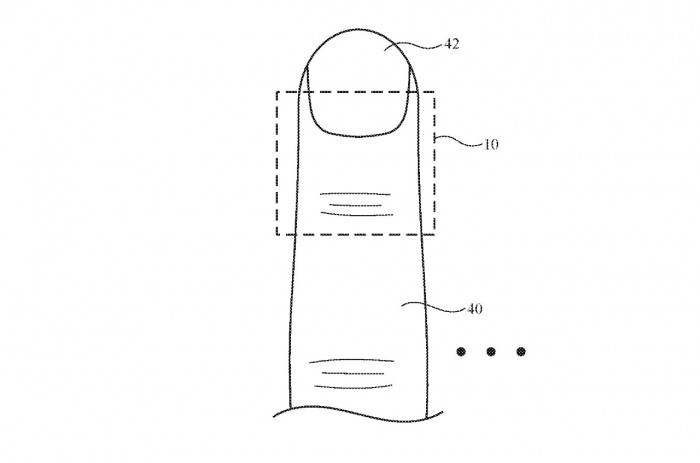
因此,该专利提出了一种"手指设备外壳",其中可能包括传感器,力传感器、超声波传感器、惯性测量单元、光学传感器和其他组件。当用户在观看虚拟内容时,手指设备可用于收集手指输入,因此,最终,如果用户面前有一个AR虚拟键盘,他们用无名指做打字动作,系统可以推测他们想打字,并推断出至少一些动作。

用户可以根据使用手指设备收集的手指输入来移动对应于可移动控件的虚拟物体,或者选择显示的菜单选项,在一些安排中,用户可以与真实世界的物体互动,同时计算机生成的内容被覆盖在一些或所有的物体上。

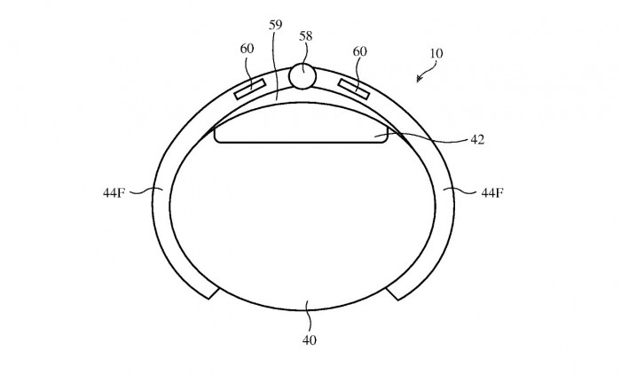
而在第二项授权专利中,苹果研究了该戒指如何与AR或其他系统进行通信。传感器电路可以包括应变仪、加速度计和/或其他传感器电路,以检测手指移动时的输入。无线通信电路可用于向系统中的其他设备提供手指输入,如头戴式设备。
苹果甚至研究了如何为戒指充电。苹果表示,手指设备外壳可以有铰链结构,允许外壳的部分相对于对方折叠。磁铁或其他双稳态结构可用于为折叠式外壳提供折叠双稳态。一个底座可用于储存手指装置,底座可以有无线电源电路,为手指设备无线充电。
(举报)
