苹果正在探索苹果零售店的新安全措施,从而试图阻止和防止打砸抢行为。在一项由Patently Apple发现的提交给美国专利和商标局(USPTO)的名为“产品-显示系统”的专利中,苹果详细介绍了一些用于保护iPhone、iPad和Apple Watch的机械系统。

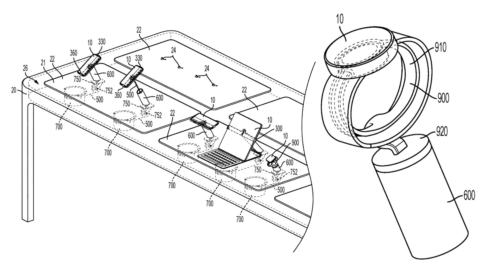
该专利实际上涉及将“固定体”和“显示杆”固定在Apple Store的大桌子上,这些桌子上则会有一个“固定支架”来固定设备。一些设备可能会有一个可伸缩的“固定线”连接到支架上以此来提供电源并允许顾客拿起设备。放在显示杆顶部的磁铁确保设备则能返回到预定位置。

为了维护安全以及变得更加美观,在安装系统中,“固定器的任何紧固件都不能被看到或接触到”。杆和托架比目前用于固定Apple Store设备的系绳要重得多,目的是使窃贼更难拆开设备,进而阻止抢劫企图的发生。
苹果曾尝试在其一些商店中移除安全系绳,但该公司近年来遭遇了大量的打砸抢事件。该专利并不确认苹果将在其零售店实施笨重的安全保持器,但鉴于该解决方案已被完全开发,这仍是一种可能性。虽然苹果设备在商店被盗时已经自动进入丢失模式,这意味着设备失去作用,但该文件表明,更基本的抢劫预防仍是该公司正在研究的领域。
据Apple Store爱好者Michael Steeber在Twitter上披露,该专利中概述的安装系统已经被一些苹果零售合作伙伴和授权经销商所使用。


(举报)
